Apple has filed for a patent (number 10,586,482) for an “electronic device with an ambient light sensor system.” Electronic devices such as laptop computers, cellular telephones, and other equipment are sometimes provided with light sensors.
For example, ambient light sensors may be incorporated into a device to provide the device with information on current lighting conditions. Ambient light readings may be used in controlling an electronic device. For example, ambient light color measurements can be used in adjusting the color cast of a display.

When lighting conditions are cool, the white point of a display can be adjusted to a cooler value and when lighting conditions are warm, the white point of the display can be adjusted to a warmer value. These adjustments may help maintain a pleasing appearance for images on a display as ambient light changes color. Apple wants its devices to be able to do this automatically.
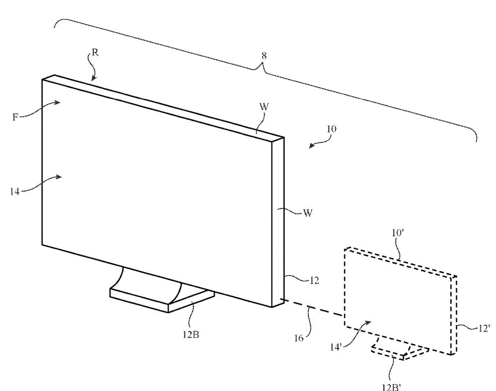
Here’s the summary of the invention: “An electronic device such as a desktop computer or other device may have an electronic device housing with front and rear faces. A display may be mounted on the front face. The electronic device may include multiple ambient light sensors such as a front color ambient light sensor on the front face and a rear color ambient light sensor on the rear face.
“The front ambient light sensor gathers a front ambient light intensity measurement and a front ambient light color measurement. The rear ambient light sensor gathers a rear ambient light intensity measurement and a rear ambient light color measurement. During operation, control circuitry in the electronic device takes action based on data from the ambient light sensors. The control circuitry may adjust a white point of the display using a combined color value that is produced using a combining function.”