A smarter watch band will play a crucial role in Apple Watch’s future as a personal technology device as they begin to incorporate technology and gain additional importance for wearable computing, Neil Cybart of Above Avalon — which is focused on analyzing Apple from a Wall Street and Silicon Valley perspective — said three years ago. We haven’t seen any yet, but I do think they’re coming.

“The Watch’s future is not found by simply taking the way we use our iPhone and putting it on a smaller screen on our wrist. Instead, the Watch will gradually handle tasks we used to give to our iPhones,” Cybart wrote. “We already see this taking place in terms of sending and receiving messages and paying for things in stores. In addition, the Watch is beginning to handle new tasks like tracking our health.”
Cybart predicted that future Apple Watch bands will include additional sensors, battery volume, and other components. He adds that there are a number of ways Apple could incorporate technology into Watch bands, including even a modular approach, “One real-world example of this type of setup is consumers’ ability to swap out Watch bands for ones with built-in battery, extending the Watch’s usability.
“The user would then be able to further refine the band, adding or removing links containing extra battery. The same can be done for health-related bands containing certain sensors that require a cuff-like product to work properly,” writes Cybart. “This is where Apple could theoretically apply for FDA approval for specific Watch bands marketed to treat or diagnose various diseases and conditions. In this scenario, Apple would avoid putting the entire Apple Watch through the FDA approval process.”
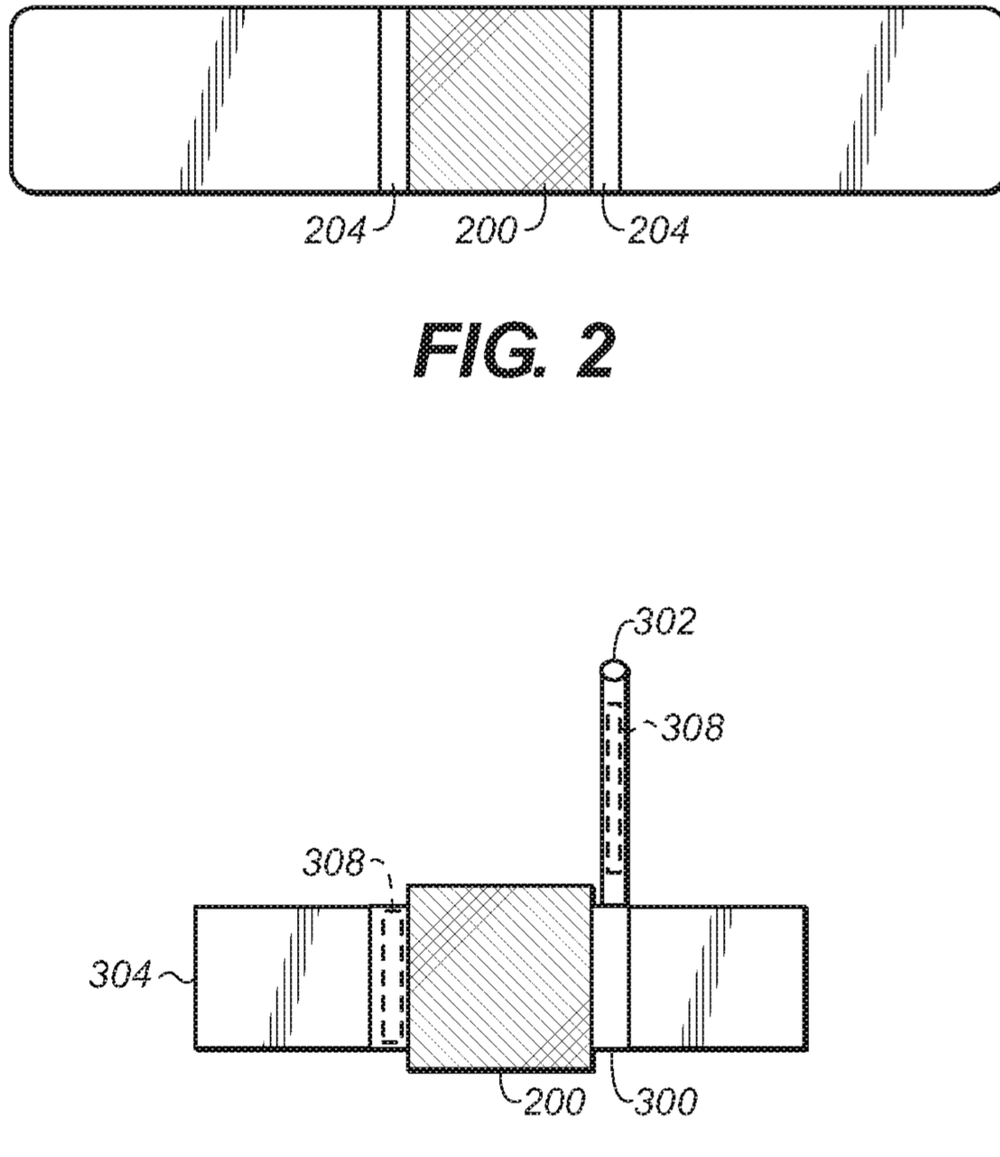
The aforementioned Apple patent (number 20160094259) describes a wearable device that’s coupled to a band including multiple modular functional band links that are each electrically and mechanically connected to one or more other of the band links and/or the wearable device and include one or more electronic components. In various implementations, the wearable device (the Apple Watch) may receive identifiers from each of the band links, determine functionality available using the identifiers, and communicate with the band links to utilize the determine functionality.

In some implementations, the band links may include multiple different output devices and the Apple Watch may determine to provide an output pattern and signal the respective output devices according to the output pattern. In various implementations, the band links may include multiple different input devices and the wearable device may receive input indications from the input devices and perform an action based on a pattern in which the input indications were detected by the respective input devices.
Last year BGR said that Apple plans to introduce interchangeable “smart watch bands” that add various functionality to the smartwatch without added complexity, and without increasing the price of the watch itself. This could also mean that the glucose monitoring feature will be implemented as part of a smart band, rather than being built into the watch hardware.
BGR also said that a camera band that adds a camera to the watch is another possibility, or a band that contains a battery to extend battery life.
Another possibility is interchangeable “smart watch bands” that could add functionality to the smartwatch without added complexity, and without increasing the price of the watch itself. For example, a glucose monitoring feature could be implemented as part of a smart band, rather than being built into the watch hardware. Perhaps a flex of your wrist could cause the smart watch band to tighten or loosen.