Apple has filed for another patent (number 10,506,978) for an Apple Watch band that could automatically tighten and loosen itself on your wrist, as needed. Such a band could also include health sensors.
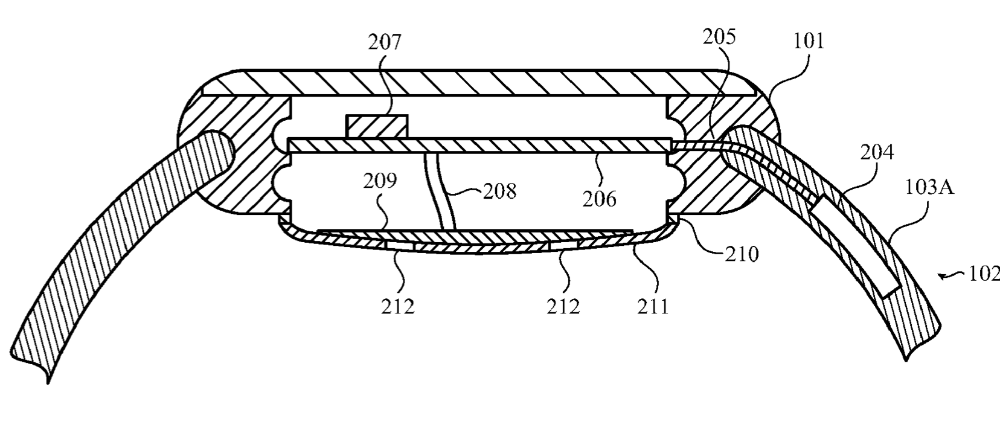
In the patent filing, Apple notes that the watchband could sport an “air bladder,” processing unit and a health sensor included in a housing, a band operable to couple the housing to a body part of a user, and a tightness sensor coupled to the band. The tightness sensor and health sensor could work in tandem to monitoring changes in the tightness of the band, adjust tightness, and measure various health/fitness metics.

Here’s Apple’s summary of the invention: “A wearable electronic device has a processing unit and a health sensor included in a housing, a band operable to couple the housing to a body part of a user, and a tightness sensor coupled to the band. The tightness sensor is operable to produce a signal indicative of a tightness of the band on the user’s body part.
“The processing unit determines a tightness of the band based on the signal and perform one or more actions based thereon. Such actions may include evaluating the signal for changes in the tightness of the band according to operational tolerances of the health sensor, providing output directing the user to adjust the band to improve operation of the health sensor, monitoring changes in the tightness of the band and adjusting a measurement obtained by the health sensor, and so on.”