Apple has been granted a patent a “consistently tight” Apple Watch to improve the health and fitness features of the smart watch.
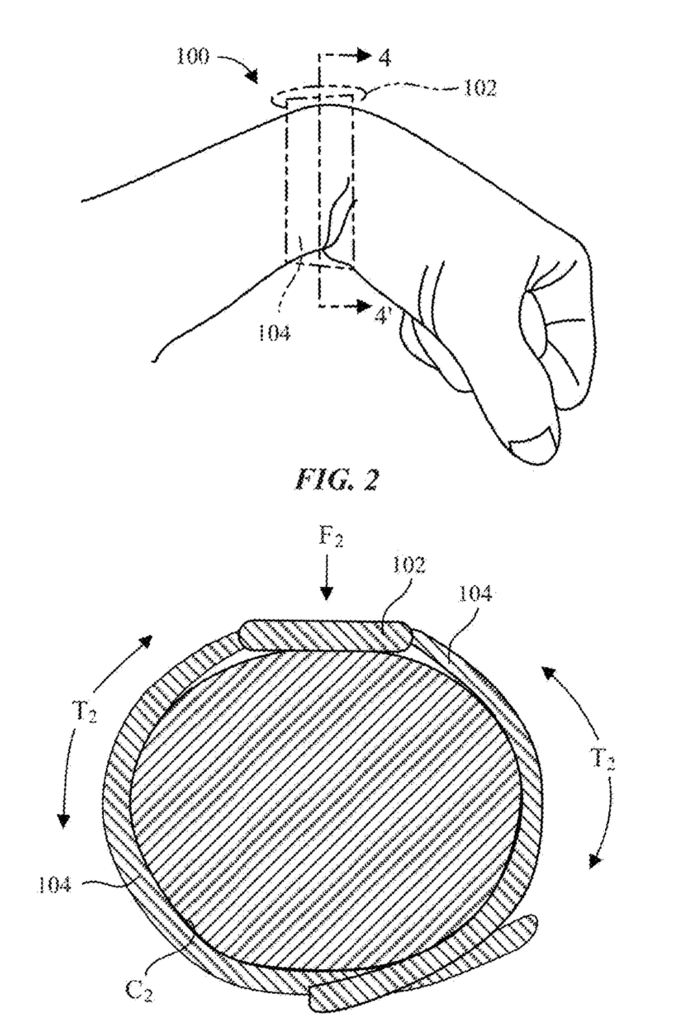
It involves watch bands that maintain a constant tension despite changes in their lengths while worn by a user. Such changes in length may occur automatically to accommodate changes in the size and circumference of a user’s wrist as they move their wrist normally (e.g., moving it from straight, with a smaller circumference, to bent, with a larger circumference).

By maintaining a constant tension, the watch bands may also maintain a constant force on the user’s wrist, and they may cause a watch body attached to the bands to also maintain a constant force on the user’s wrist. Apple says that this can increase a user’s comfort, since the watch will not get tighter or constrict their wrist as they straighten and bend their wrist. The tech giant adds that it can also help optimize operation of any sensors in the watch band or watch body that benefit from being held against the user’s wrist with a constant force, such as some physiological sensors (e.g., some heart rate sensors).
Here’s Apple’s summary of the invention: “The watch band maintains a substantially constant tension throughout changes in its length while worn by a user. Such changes in length may occur automatically to accommodate changes in the size and circumference of a user’s wrist as they move their wrist normally. By maintaining a constant tension, the watch band also maintains a constant force on the user’s wrist, and causes a watch body attached to the watch band to also maintain a constant force on the user’s wrist.
“This can increase a user’s comfort, since the watch will not get tighter or constrict their wrist as they straighten and bend their wrist. It can also help optimize operation of any sensors in the watch band or watch body that benefit from being held against the user’s wrist with a constant force, such as some physiological sensors.”
Of course, Apple files for — and is granted — lots of patents by the U.S. Patent & Trademark Office. Many are for inventions that never see the light of day. However, you never can tell which ones will materialize in a real product.