Future Apple devices (Macs, iPhones, iPads, Apple Watches, etc.) may use your biometric data to pair with each other. The tech giant has been granted a patent (number 10,171,458) for “wireless pairing and communication between devices using biometric data.”
Biometric identifiers are distinctive, measurable physiological characteristics related to the configuration or characteristics of the body that can be used to identify individuals. Example biometric identifiers include, but are not limited to, a fingerprint, face recognition, DNA, a palm print, hand geometry, iris recognition, retina recognition, and scent. Think TouchID and FaceID.

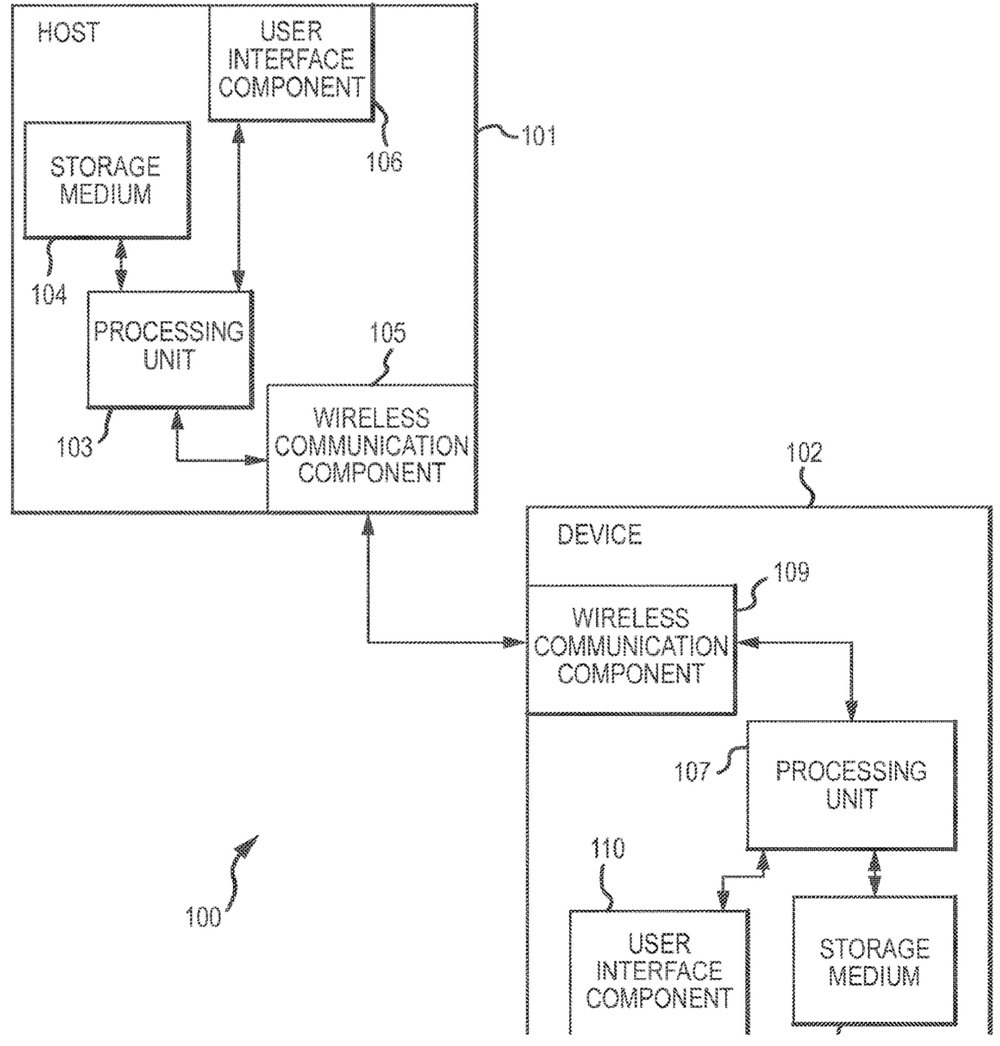
Per Apple’s patent, a host device (say, a Mac) would determine to pair with a device and transmits biometric data for a user to the device. The device would receive the transmitted biometric data and compares such to device biometric data to determine whether or not to pair with the host and/or what data stored by the device to allow the host to access.
The host then accesses data of the device to which the device has allowed access. In another implementation, a device determines to pair with a host and transmits biometric data for a user to the host. The host receives the transmitted biometric data and compares such to device biometric data to determine whether or not to pair with the device and/or what data stored by the host to allow the device to access. The device then accesses data of the host to which the host has allowed access.
In the patent filing, Apple says that, given the prevalence of electronic devices (such as desktop computers, mobile computing devices, portable data storage devices, smart phones, digital music players, and so on) that store data in the modern world, many users may own and/or utilize more than one such electronic device. As such, users may need to wirelessly transfer data (such as music files, preference files, configuration files, document files, movie files, image files, and so on) back and/or forth between the storage media of various such electronic devices in order to make full use out of the electronic devices.
In order to control the use of such electronic devices and/or the security of data stored by such electronic devices, electronic devices may need to perform one or more pairing operations before data transfer can be performed. However, in order to provide access control and/or security, such pairing processes may be time consuming and/or otherwise burdensome for users.
For example, electronic devices may be configured to pair and/or communicate data utilizing a Bluetooth communication connection. Apple says that, however, in order to configure the devices to pair and/or communicate utilizing the Bluetooth communication connection a user may be required to enter one or more passcodes into one or more of the electronic devices. Such a manual configuration and/or passcodes entry system may be inconvenient for users.
Users may not want to remember passcodes and/or have to enter such passcodes or similar security measures in order to transfer data between different electronic devices. Apple thinks its biometric data plan is a better option.
Of course, Apple files for — and is granted — lots of patents by the U.S. Patent & Trademark Office. Many are for inventions that never see the light of day. However, you never can tell which ones will materialize in a real product.