Apple has filed for a patent for a “predictive, foveate virtual reality system” that can capture views of the world around a user using multiple resolutions. It could work with Macs or an HDTV and could include a head-mounted display.
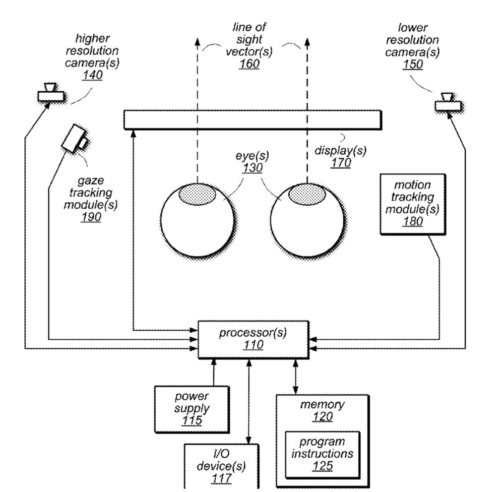
The Predictive, Foveated Virtual Reality System may include one or more cameras configured to capture lower resolution image data for a peripheral field of view while capturing higher resolution image data for a narrow field of view corresponding to a user’s line of sight. Additionally, it may include one or more sensors or other mechanisms, such as gaze tracking modules or accelerometers, to detect or track motion.
A Predictive, Foveated Virtual Reality System may also predict, based on a user’s head and eye motion, the user’s future line of sight and may capture image data corresponding to a predicted line of sight. When the user subsequently looks in that direction the system may display the previously captured (and augmented) view.

Virtual reality (VR) allows users to experience and/or interact with an immersive artificial environment, such that the user feels as if they were physically in that environment. For example, virtual reality systems may display stereoscopic scenes to users in order to create an illusion of depth, and a computer may adjust the scene content in real-time to provide the illusion of the user moving within the scene. Apple says the simulated environments of virtual reality and/or the enhanced content of augmented reality may be utilized to provide an interactive user experience for multiple applications, such as interacting with virtual training environments, gaming, remotely controlling devices or other mechanical systems, viewing digital media content, interacting with the internet, or the like.
However, the company says conventional virtual reality and augmented reality systems may also suffer from latency problems potentially cause eyestrain, headaches, and/or nausea. For example, conventional virtual reality and augmented reality systems may involve significant lag times between the time a user looks in a particular direction and the time that the system is able to display the corresponding scene to the user.
Additionally, the amount of image data required to be captured, generated and/or displayed to the user of a conventional virtual reality system may be so large as to affect the performance of the system (e.g., increased latency) and to increase the cost and/or size of the system. Apple thinks it’s found a solution.
Of course, Apple files for — and is granted — lots of patents by the U.S. Patent & Trademark Office. Many are for inventions that never see the light of day. However, you never can tell which ones will materialize in a real product.