Apple is planning to bring its Force Touch technology to Mac keyboards, as evidenced by a new patent filing (number 9178509) with the U.S. Patent & Trademark Office. The patent is dubbed “ultra low travel keyboard.”
Force Touch is present on most new MacBook Pros, the 12-inch MacBook, and the Magic Trackpad 2 for desktop Macs. With built-in force sensors and a Taptic Engine that delivers haptic feedback, the Force Touch trackpad on the MacBook allows you to click anywhere with a uniform feel and customize the amount of pressure needed to register each click. And Force Touch technology makes it possible to perform a variety of different actions with a deeper press

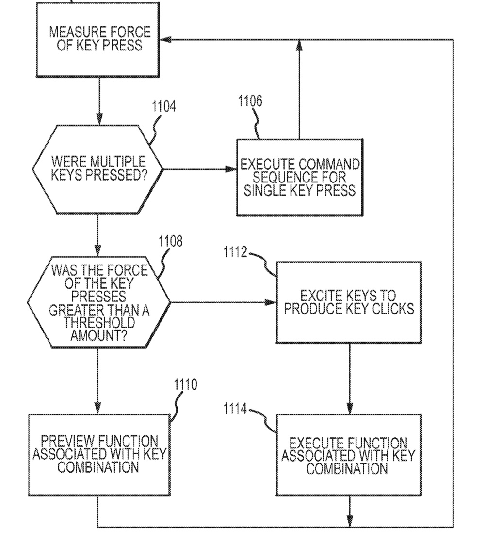
Apple’s patent is for a keyboard — the Magic Keyboard 2? — with a key that has a force sensor that measures the force on the key when a user presses the key or rests a finger on a key. It could include an “actuator” that provides feedback to the user in accordance with various feedback methods.
When a key of a conventional keyboard is pressed, the key travels a distance in order to close the switch or otherwise make a contact that registers a key press. This makes it difficult to make such keyboards even thinner. Additionally, a key of a conventional keyboard typically is limited to one response that occurs when the switch or other contact is closed. Apple wants a thinner keyboard that can accommodate more than one response in a single key.